잠재적인 GPU 칩렛 설계에 대한 AMD 접근 방식을 설명하는 새로운 특허가 20년 12월 31일 미국 특허청에 제출되었습니다.

제조업체는 이러한 설계의 문제 구조를 설명하고 향후 이러한 설계를 피할 수 있는 방법을 설명했습니다.
AMD에 따르면 GPU 설계는 다양한 구현 문제로 인해 모놀리식 상태로 유지되었습니다.
GPU 프로그래밍 모델은 시스템의 여러 활성 다이에 병렬 처리를 분산하기가 어렵기 때문에 여러 GPU (크로스파이어 구성에 관한 설명은 없었습니다)로 작업하는데 효율적이지 않았습니다.
또한 여러 GPU 칩셋에서 메모리 콘텐츠를 동기화하는 것은 복잡하고 비용이 많이 드는 설계라고 AMD에서 설명했습니다.
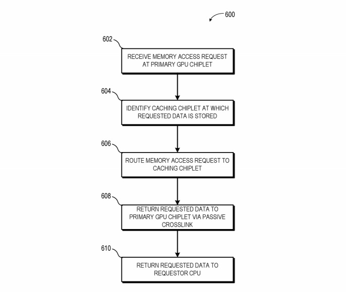
AMD는 고대역에서 passive crosslinks (서로 다른 다이 사이의 물리적 연결)를 구현함으로써 이러한 문제를 피할 수 있다고 생각합니다.
첫 번째 GPU 칩셋은 CPU에 직접 통신 가능하게 결합되는 반면 어레이의 각 GPU 칩셋은 수동 교차 링크를 통해 첫번째 GPU에 결합됩니다.
이러한 의미에서 AMD는 단일 인터 포저에 배치 된 칩렛 간의 통신 와이어로 패시브 크로스링크(Passive crosslinks)를 고려 했습니다. (필요한 경우 여러 레이어를 사용)
이러한 GPU 그룹은 서로 다른 기능 칩으로 나뉘는 시스템 온 칩으로 작동 합니다.
기존 GPU 설계에서 각 GPU는 고유한 LLC (Last-Level Cache)를 갖추고 있지만 동기화 문제를 방지하기 위해 AMD는 각 GPU ㅊ칩렛이 자체 LLC를 특징으로 해야한다고 합니다.
캐시는 물리적 리소스에 통신 가능하게 결합되어 캐시가 통합되고 모든 GPU 칩렛에서 일관성을 유지합니다.
AMD는 GPU 칩렛 설계 작업을 공개적으로 확인하지 않았지만 RDNA3+ 디자인이 칩렛을 기반으로 할 수 있다는 소문이 있습니다.
AMD는 특히 라이젠 시리즈와 최신 게임 콘솔을 포함한 다양한 APU에서 멀티 칩 설계에 대한 많은 경험을 가지고 있습니다.
경쟁사인 엔비디아와 인텔도 이 경로를 따를 것으로 예상되어 GPU 칩을 더 높은 수율로 생산할 수 있습니다.
인텔은 올해 말에 발표 할 것으로 예상되는 타일 디자인 Xe-HP 그래픽 카드가 확인되었으며 한편 엔비디아는 Hopper 아키텍처를 사용하는 최초의 MCM(멀티 칩 모듈 설계)을 소개한다는 소문이 있습니다.






'IT 소식 > 기타' 카테고리의 다른 글
| 에이데이타(ADATA) 차세대 DDR5 메모리 출시 준비 (0) | 2021.01.07 |
|---|---|
| 2021년 에이수스 주요 PC 구성 제품 가격 인상 (2) | 2021.01.05 |
| 어도비(Adobe) 플래시 플레이어 지원 종료 삭제 권고 (0) | 2021.01.01 |
| 써멀테이크 (Thermaltake) TOUGHFAN 12 터보 라디에이터 팬 출시 (0) | 2021.01.01 |
| Genesis HOLM 510 RGB 게이밍 책상 발표 (0) | 2021.01.01 |